SQlite源码分析

集合函数

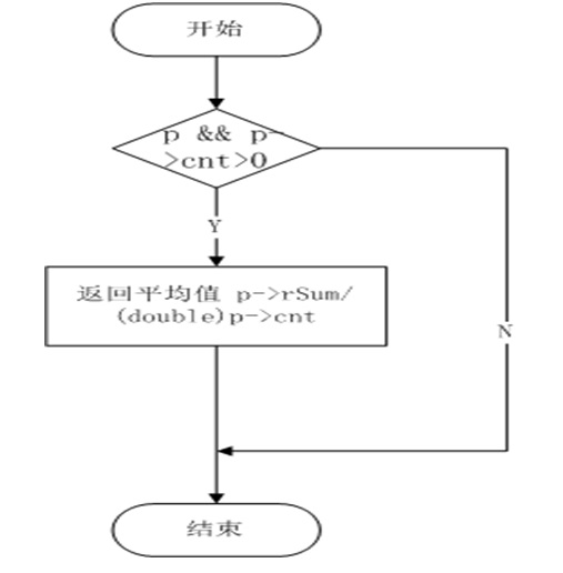
(1)static void avgFinalize(sqlite3_context *context)

这个函数返回组中值的平均值

(2)工作流程

通过计算总值p->rSum除以组数p->cnt,得到平均值,返回其值

如图为avgFinalize函数实现流程

4.2表达式中所有值的和

(1)函数头

static void sumFinalize(sqlite3_context *context)

返回表达式中所有值的和

(2)工作流程

若给指针变量p和p->cnt>0成立,判断p是否溢出,若溢出,返回错误信息-1,若未溢出,判断p是否为近似值,若是,则返回近似总和rSum。反之,返回整数总和iSum。

如图为sumFinalize函数实现流程

4.3组中项目的数量

(1)函数头

static void countFinalize(sqlite3_context *context) (2) 工作流程

判断变量p是否存在,若存在,则返回组中项目数量n;若不存在,返回0